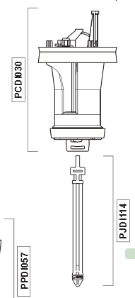
(Dosatron D3RE2) PART (PJDI114)

STD CWATDOSP314

Valid Article

Former Code(s): CWATZBE1140 CWATZNL0198 B


OC subscriptions: included in supply or field order tools (e.g. UniField)
SC subscriptions: included in supply or field tools
OC validations: approved for procurement and use by an OC for international or local orders specifying context and activity in Medical Standard Lists (MSL)

https://www.unicat.msf.org/web/image/product.template/549622/image_1920?unique=e9da4bc

This combination does not exist.

Add article to list

   

Add Kit To Wishlist

   

(Dosatron D3 range) PART (PJDI114)

Form

Spare part, dosing piston/dispenser, complete including seals.

Fit

Compatible only with Dosatron© dosing pump, model D3RE2.

Function

Dispensing and dosing the chlorine solution into the water. Placed in the housing of Dositron dosing pump.